塑钢门窗安装质量控制全解析:从入门到精通
您是否正在为塑钢门窗的现场施工质量而头疼?别担心,本文将用最精炼的语言,带您快速掌握核心控制要点,确保工程零失误!
现场施工安装质量控制
1.1 条件交底会:乙方进场前务必组织内外装总包等单位召开交底会,明确施工界面、进度计划和安装要求,避免责任推诿。
1.2 洞口尺寸复核:
1.2.1 主体完工后,乙方需吊垂直线全面检测洞口。偏差超30mm需立即通报监理,由总包整改。尺寸不符造成返工的,费用由乙方承担!
1.2.2 施工前7天,乙方需复核洞口尺寸。偏差超30mm或小于10mm的,需书面报告并抄送各方。总包整改后,乙方复验。下料缩尺参考下表:
表1 单位:mm
墙体饰面材料 | 门窗框与洞口边缝隙
砂浆+涂料 | 20-25
面砖 | 25-30
石材 | 40-50(需增加副框宽度)
外保温墙体 | 外保温厚度+饰面材料缝隙-10
1.3 现场安装要求
1.3.1 附框安装需在抹灰湿作业前完成,门窗安装则在湿作业后,严禁顺序颠倒!
1.3.2 安装前必须校验水平线、垂直线,确保窗框与墙面无大小头缺陷。
1.3.3 无附框时,窗框与墙体需用单向固定片双向交叉固定。与外保温墙体固定时,固定片宜朝向室内。连接必须使用自钻自攻螺钉,严禁锤击钉入!
1.3.4 无附框直接固定时,膨胀螺钉需加支撑块,端头加盖密封。拼樘部位螺丝位置必须打胶密封。

1.3.5 有附框时,附框与墙体需牢固连接。门窗框与附框间留伸缩缝,固定时严禁在排水槽钻孔!
1.3.6 附框安装需实时检查垂直度,必要时加衬垫调节。窄附框需反向增加固定片防变形。
1.3.7 附框安装后,用角尺、直尺复核平整度,偏差需符合规范。

1.3.8 所有固定点必须锚固在墙体基层,严禁固定于抹灰层!固定件需热镀锌防锈,每个连接点必须牢固。
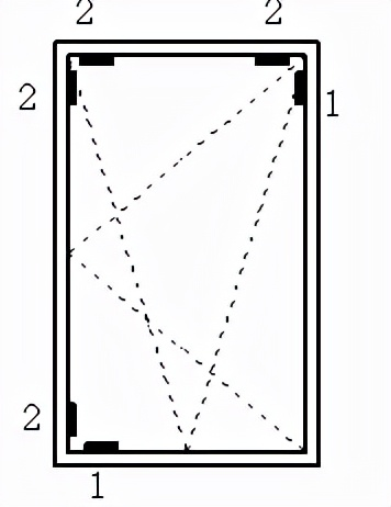
1.3.9 固定片或膨胀螺钉位置:距端角150-200mm,间距500-600mm。拉片安装内高外低,平开门铰链位需加强固定。

1.3.10 缝隙填塞首选聚氨酯发泡胶,施工前清灰,填充后10-15分钟内压平。严禁固化后切割!
1.3.11 外窗框与附框缝隙需用发泡剂填满,室内侧刮平后打密封胶,色泽需协调。
1.3.12 临时固定物不得导致变形,完工后立即移除。
1.3.13 PC构件预埋时,连接件需同步预留,门窗单位需提前技术交底。
1.3.14 湿法抹灰前,型材表面必须做保护。
1.3.15 防雷连接:塑料附框需预留孔洞,金属附框用热镀锌扁钢连接,确保可靠接地。
1.3.16 五金配件安装:
配件装配时防磕碰,使用不锈钢紧固件。铰链、锁具需调试灵活后固定。执手避免跨装扣条,推拉门窗需加装防撞块、密封桥等附件,缺一不可!
1.3.17 玻璃现场安装规范:
1)玻璃需垫专用垫块,中空玻璃垫块匹配厚度。位置严格按图执行。

2)玻璃压条需工厂成型,同边严禁拼接!角部间隙≤1.0mm。
1.3.18 密封胶施工:
1)胶条长度预留2-3mm余量,专用胶水粘结,严禁45°角不断开粘结!
2)双面打胶前清洁表面,打胶后静置48小时。胶缝需饱满顺直。
3)拼樘料错台缝隙用耐候胶密封。
4)密封条装配后应压缩连续,接口位于窗上方。
1.3.19 密封毛条选用硅化加片型,装配后无脱槽。
1.3.20 室内外密封胶需待收口后施工,断面必须密封防渗。
1.3.21 纱窗安装需用密封材料紧固,纱扇关闭严密,五金安装后整理纱网。
相关问答
窗户固定片安装位置?
固定片距端角150-200mm,间距≤500mm,距墙边≥50mm,确保受力均匀。
窗户的固定片可以拆掉吗?
可以拆除,但需在安全前提下操作,避免窗扇失控。
门窗固定拉片规格要求?
拉片需高强度、耐腐蚀,厚度及尺寸需符合国标,保证连接寿命。
窗框固定片和膨胀螺栓的区别?
固定片为金属片状连接,膨胀螺栓为螺杆锚固,后者适用于重型荷载。
门窗固定片厚度国标允许偏差多少?
国标允许偏差±0.1mm,安装前需核对规格,垂直吊线定位。
哪位能介绍一下铝塑门窗固定片是什么?有谁清楚?-房天下
铝塑门窗固定片是连接框体的关键部件,需选择正规厂家如浩森宜门窗等品牌产品。
窗户固定片是否要安装成八字角?
需成八字角安装,以增强稳定性,防止窗扇移位。
铝合金门窗固定片间距多少更合适?
间距宜≤500mm,首片距角部≤180mm,避免固定失效。
门窗开关固定的叫什么?
家用门窗多采用膨胀螺丝或木螺丝固定,工业门需专用连接件。
固定窗户的铁条叫什么?
称为链接条,通过自攻丝固定窗框,射钉锚固墙体,实现刚性连接。
相关文章

最新评论